Amazon превратит работников склада в управляемых роботов
«Черное зеркало» и реальность - сотрудники с дистанционным управлением
Amazon собирается оснастить персонал браслетами контроля производительности, пишет Designboom. Как напоминает издание, свои планы по разработке системы дистанционного управления сотрудниками с помощью искусственного интеллекта компания озвучила еще в 2016 году. Создание устройства заняло около двух лет, и 30 января онлайн-ритейлер зарегистрировал патент на ультразвуковой браслет.
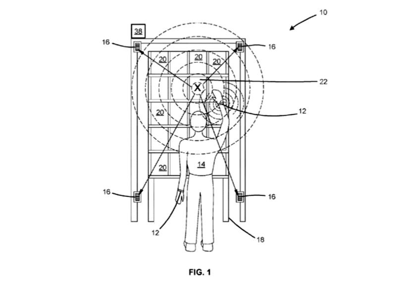
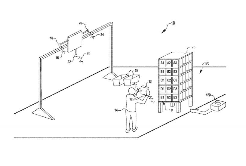
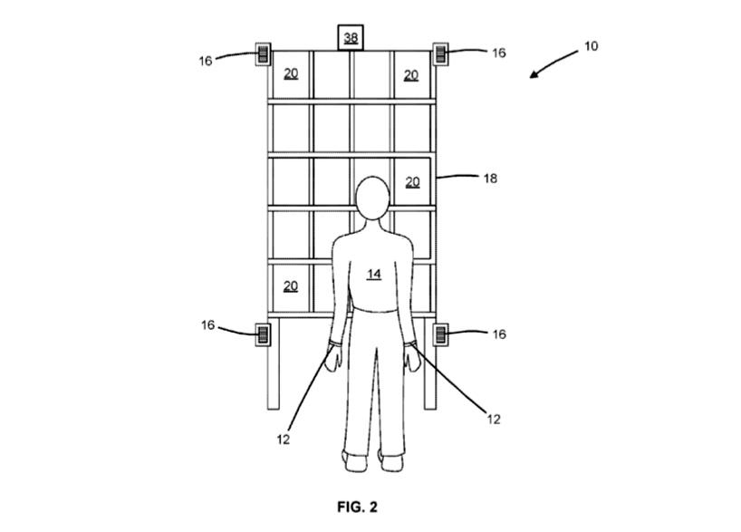
Наручный браслет будет контролировать все движения персонала, и как объясняют в компании, способен помочь им быстрее найти нужные товары на складе, вибрацией направляя их к нужному месту. Однако главная функция устройства откровенно описывается в аннотиции к патенту - «ультразвуковое отслеживание рук рабочего может использоваться для контроля выполнения назначенных задач».
В Designboom надеются, что компания будет предупреждать нанимающихся на работу сотрудников о том, что им предстоит.
Ниже - несколько изображений из описания патента.



Источник: ria novosti